В вашей корзине ещё нет товаров.

| Цена за 1м3, руб | 30 541 с НДС* |
|
|||||||||
| Количество в квадратом метре, шт | 0,22 | ||||||||
| Нормы погрузки на авто | 6 | ||||||||
| Ссылка на стандарт | https://disk.yandex.ru/d/xOOqXaPOAv2RxA | ||||||||
| Расход стали, кг | 223,18 |
| Расход стали на 1м3 бетона, кг | 162,67 |
| Класс прочности | В22,5 |
| Марка бетона | М300 |
| Морозостойкость | F150-F300 |
| Водонепроницаемость | W6-W8 |
| Марка бетона по EN 206-1 | C18/22 |
| Геометрический объем | 1,800 |
| Объем бетона | 1,37 |
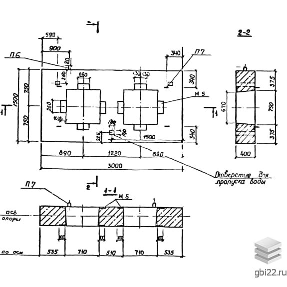
Конструкции НО 600-50 имеют четкую маркировку, где:
Дополнительно указываются масса, дата изготовления и клеймо ОТК.
Опоры представляют собой сборные железобетонные плиты прямоугольной формы с 1-2 сквозными отверстиями (прямоугольными или восьмигранными). В комплектацию входят металлические патрубки для крепления труб.
Используются при монтаже теплотрасс с диаметром труб 100-1400 мм в каналах из лотковых элементов. Наличие закладных деталей позволяет осуществлять надежную фиксацию фланцев методом сварки.
Изготовление регламентировано Альбомом ПС 248 с требованиями:
Перевозка осуществляется спецтехникой с обязательным использованием деревянных прокладок. Запрещены ударные нагрузки и перемещение волоком. Складирование — только в вертикальном положении.
| Стандарт | альбом |
| Номер стандарта | ПС 248 |
| Статус | не определен |
| Год выпущенного стандарта | 1989 |
| Название стандарта | Сборные железобетонные конструкции неподвижных опор для трубопроводов тепловых сетей. Рабочие чертежи опор для трубопроводов Ду 100 - 1400 мм, размещаемых в каналах. |
| Название | Длина, мм | Ширина, мм | Высота, мм | Вес, кг | Номер стандарта | Цена | |
|---|---|---|---|---|---|---|---|
| 2100 | 2400 | 500 | 5020 | ПС 248 |
37 548 руб. |
||
| 2100 | 2400 | 500 | 5020 | ПС 248 |
47 483 руб. |
||
| 1800 | 1800 | 500 | 3000 | ПС 248 |
24 594 руб. |
||
| 1800 | 1800 | 500 | 3000 | ПС 248 |
32 198 руб. |
||
| 1800 | 1800 | 500 | 3220 | ПС 248 |
25 527 руб. |
||
| 1800 | 1800 | 500 | 3220 | ПС 248 |
30 606 руб. |
||
| 3000 | 1500 | 400 | 3600 | ПС 248 |
42 705 руб. |
||
| 3000 | 1500 | 400 | 3600 | ПС 248 |
42 705 руб. |
||
| 3000 | 1500 | 400 | 3430 | ПС 248 |
41 903 руб. |
||
| 3000 | 1500 | 400 | 3820 | ПС 248 |
45 435 руб. |
||
| 3000 | 1500 | 400 | 3700 | ПС 248 |
44 868 руб. |
||
| 3000 | 1500 | 400 | 3820 | ПС 248 |
35 801 руб. |
||
| 3000 | 1500 | 400 | 3700 | ПС 248 |
35 235 руб. |
||
| 2400 | 1500 | 300 | 2280 | ПС 248 |
39 406 руб. |
||
| 2400 | 1500 | 300 | 2280 | ПС 248 |
27 894 руб. |
||
| 2400 | 1500 | 300 | 2380 | ПС 248 |
31 354 руб. |
||
| 2400 | 1500 | 300 | 2380 | ПС 248 |
27 524 руб. |
||
| 2400 | 1500 | 300 | 2430 | ПС 248 |
27 563 руб. |
||
| 2400 | 1500 | 300 | 2430 | ПС 248 |
22 465 руб. |
||
| 2400 | 1500 | 300 | 2480 | ПС 248 |
27 066 руб. |
||
| 2400 | 1500 | 300 | 2480 | ПС 248 |
22 197 руб. |
||
| 1500 | 900 | 300 | 880 | ПС 248 |
12 138 руб. |
||
| 1500 | 900 | 300 | 880 | ПС 248 |
9 821 руб. |
||
| 1500 | 900 | 300 | 930 | ПС 248 |
8 831 руб. |
||
| 2400 | 2700 | 500 | 5250 | ПС 248 |
45 488 руб. |
||
| 2400 | 2700 | 500 | 5250 | ПС 248 |
54 900 руб. |
||
| 2100 | 2400 | 500 | 4150 | ПС 248 |
35 516 руб. |
||
| 2100 | 2400 | 500 | 4150 | ПС 248 |
43 097 руб. |
||
| 2100 | 2400 | 500 | 4750 | ПС 248 |
36 315 руб. |
||
| 2100 | 2400 | 500 | 4750 | ПС 248 |
46 388 руб. |
||
| 1500 | 900 | 200 | 650 | ПС 248 |
6 557 руб. |
||
| 3440 | 700 | 3600 | 9600 | ПС 127 |
118 256 руб. |
||
| 3440 | 600 | 3820 | 9950 | ПС 127 |
134 405 руб. |
||
| 3440 | 600 | 3820 | 9500 | ПС 127 |
131 462 руб. |
||
| 3440 | 600 | 3780 | 9000 | ПС 127 |
112 729 руб. |
||
| 3440 | 600 | 3780 | 8375 | ПС 127 |
108 745 руб. |
||
| 3440 | 1200 | 3860 | 22050 | ПС 127 |
247 434 руб. |
||
| 3440 | 700 | 3600 | 9600 | ПС 127 |
92 187 руб. |
||
| 3440 | 1200 | 3820 | 19900 | ПС 127 |
234 626 руб. |
||
| 3440 | 1200 | 3860 | 22050 | ПС 127 |
209 435 руб. |
||
| 3440 | 1000 | 3820 | 15850 | ПС 127 |
223 483 руб. |
||
| 3440 | 1200 | 3820 | 19900 | ПС 127 |
203 009 руб. |
||
| 3440 | 900 | 3780 | 13475 | ПС 127 |
178 344 руб. |
||
| 3440 | 1000 | 3820 | 15850 | ПС 127 |
176 535 руб. |
||
| 3440 | 900 | 3780 | 12575 | ПС 127 |
163 963 руб. |
||
| 3440 | 900 | 3780 | 13475 | ПС 127 |
158 856 руб. |
||
| 3440 | 700 | 3600 | 9600 | ПС 127 |
141 903 руб. |
||
| 3440 | 900 | 3780 | 12575 | ПС 127 |
133 949 руб. |
||
| 3440 | 600 | 3860 | 11025 | ПС 127 |
132 433 руб. |
| Название | Длина, мм | Ширина, мм | Высота, мм | Вес, кг | Номер стандарта | Цена | |
|---|---|---|---|---|---|---|---|
| 2100 | 2400 | 500 | 5020 | ПС 248 |
37 548 руб. |
||
| 2100 | 2400 | 500 | 5020 | ПС 248 |
47 483 руб. |
||
| 1800 | 1800 | 500 | 3000 | ПС 248 |
24 594 руб. |
||
| 1800 | 1800 | 500 | 3000 | ПС 248 |
32 198 руб. |
||
| 1800 | 1800 | 500 | 3220 | ПС 248 |
25 527 руб. |
||
| 1800 | 1800 | 500 | 3220 | ПС 248 |
30 606 руб. |
||
| 3000 | 1500 | 400 | 3600 | ПС 248 |
42 705 руб. |
||
| 3000 | 1500 | 400 | 3600 | ПС 248 |
42 705 руб. |
||
| 3000 | 1500 | 400 | 3430 | ПС 248 |
41 903 руб. |
||
| 3000 | 1500 | 400 | 3820 | ПС 248 |
45 435 руб. |
||
| 3000 | 1500 | 400 | 3700 | ПС 248 |
44 868 руб. |
||
| 3000 | 1500 | 400 | 3820 | ПС 248 |
35 801 руб. |
||
| 3000 | 1500 | 400 | 3700 | ПС 248 |
35 235 руб. |
||
| 2400 | 1500 | 300 | 2280 | ПС 248 |
39 406 руб. |
||
| 2400 | 1500 | 300 | 2280 | ПС 248 |
27 894 руб. |
||
| 2400 | 1500 | 300 | 2380 | ПС 248 |
31 354 руб. |
||
| 2400 | 1500 | 300 | 2380 | ПС 248 |
27 524 руб. |
||
| 2400 | 1500 | 300 | 2430 | ПС 248 |
27 563 руб. |
||
| 2400 | 1500 | 300 | 2430 | ПС 248 |
22 465 руб. |
||
| 2400 | 1500 | 300 | 2480 | ПС 248 |
27 066 руб. |
||
| 2400 | 1500 | 300 | 2480 | ПС 248 |
22 197 руб. |
||
| 1500 | 900 | 300 | 880 | ПС 248 |
12 138 руб. |
||
| 1500 | 900 | 300 | 880 | ПС 248 |
9 821 руб. |
||
| 1500 | 900 | 300 | 930 | ПС 248 |
8 831 руб. |
||
| 2400 | 2700 | 500 | 5250 | ПС 248 |
45 488 руб. |
||
| 2400 | 2700 | 500 | 5250 | ПС 248 |
54 900 руб. |
||
| 2100 | 2400 | 500 | 4150 | ПС 248 |
35 516 руб. |
||
| 2100 | 2400 | 500 | 4150 | ПС 248 |
43 097 руб. |
||
| 2100 | 2400 | 500 | 4750 | ПС 248 |
36 315 руб. |
||
| 2100 | 2400 | 500 | 4750 | ПС 248 |
46 388 руб. |
||
| 1500 | 900 | 200 | 650 | ПС 248 |
6 557 руб. |
ТД "Еврастрой" предлагает купить Опоры неподвижные НО 600-50 по выгодной цене. Наша компания осуществляет доставку продукции по всей территории России и странам СНГ.
В каталоге представлено около 170 тыс. позиций.
По наличию и ценам Мы можем проконсультировать Вас по телефону +7 (343) 300-90-87 или можете отправить запрос на почтовый ящик gbi@gbi22.ru.
Оплатить продукцию можно в рассрочку, для обсуждения вопросов оплаты так же можно обратиться к нашим менеджерам.
Продажа ЖБИ изделий производится с заводов в таких городах как:
Наши менеджеры помогут Вам подобрать оптимальное решения для ваших задач, сориентируют по наличию и ценам, расскажут про оптимальные варианты доставки и оплаты. Звоните +7 (343) 300-90-87
